Apple запатентовала очки виртуальной реальности для iPhone
Фото: Apple запатентовала очки виртуальной реальности для iPhone (portaltele.com.ua)
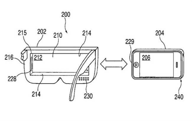
Устройство планируется оснастить встроенными наушниками и линзами
Американская компания Apple запатентовала очки виртуальной реальности, предназначенные для смартфонов iPhone, сообщает Украинский телекоммуникационный портал.
В патенте описываются очки виртуальной реальности, которые могут "соединяться" с мобильным устройством с запущенным на нем VR-приложением.

Фото: в патенте описываются очки виртуальной реальности
"Таким образом, очки помогают зафиксировать дисплей присоединяемого устройства перед глазами пользователя для просмотра контента с эффектом присутствия", - сообщает издание.
Устройство планируется оснастить встроенными наушниками и линзами.
Как отмечает издание, на данный момент не известно планирует ли Apple внедрять запатентованные VR-очки.
"Крупные IT-компании часто патентуют технологии не для того, чтобы тут же приступить к реализации продукта, а, скорее, чтобы защитить разработку авторскими правами быстрее конкурентов", - подчеркивает издание.
Напомним, Apple запатентовала виртуальные кнопки для смартфонов.