Apple запатентовала виртуальные кнопки для смартфонов
Фото: в iPhone могут появиться виртуальные кнопки (portaltele.com.ua)
Сроки реализации новшеств пока не известны
Бюро по регистрации патентов и торговых марок США выдало Apple патент, который описывает особую технологию реализации виртуальных кнопок на смартфонах, сообщает Украинский телекоммуникационный портал.
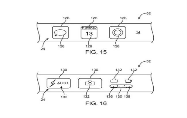
Согласно патенту, физические кнопки на боковых гранях iPhone могут быть заменены на интерактивные дисплеи с виртуальными элементами управления. В частности, может быть создана гибкая ЖК-панель, заходящая на торцы корпуса iPhone. Дополнительный экран, расположенный как минимум на одной из кромок, может использоваться для вывода различной информации и отображения элементов управления мобильных устройством.

В патенте Apple отмечается, что сенсорные панели на боковых сторонах iPhone принесут смартфону ряд новых полезных свойств: сюда могут быть перенесены иконки приложений, некоторые функции ПО, элемент разблокировки операционной системы, кнопки для управления музыкой, запуска камеры и другое.

Сроки реализации нововведений не указываются.
Напомним, ранее Apple запатентовал iPhone с круговым дисплеем.