Apple получила патент на спортивные наушники
18:04 17.11.2016 Чт
1 хв
Особенностью является то, что они могут подключаться к iPhone, а управляться с помощью движений головы
Фото: Apple получила патент на спортивные наушники
Компания Apple получила патент на наушники для спортсменов и любителей активного отдыха, сообщает издание uip.me.
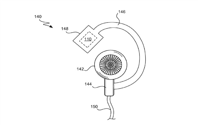
Согласно патенту, наушники могут собирать и хранить данные о спортивной активности владельца, а также сообщать их при первой необходимости. Кроме того, они поддерживают управление жестами головой.

Запатентованная технология позволяет отслеживать физическую активность и биометрические показатели человека (температуру тела, частоту сердцебиения, потоотделение) с помощью специального модуля для наушников.
"Особенностью системы является то, что она способна подключаться к iPhone, а управление осуществляется с помощью движений головы", - отмечает издание.